| # | Part Number | Description | Qty | Status |
| - |
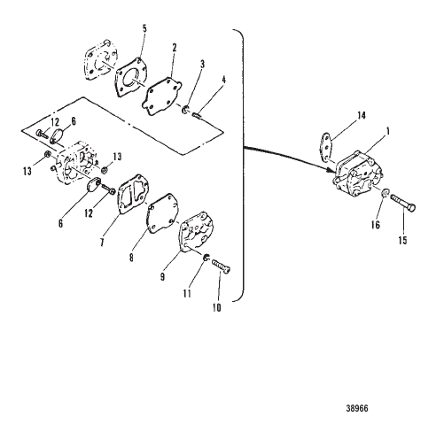
92575M |
GASKET SET POWERHEAD
|
1 |
discontinued
|
| 1 |
43113M |
PUMP ASSEMBLY Fuel [M-019911/ML-315401/E-252996/EL-554736] & Up
|
1 |
superseded
|
| 1 |
94799M |
PUMP ASSEMBLY Fuel [M-019910/ML-315400/E-252995/EL-554735] & Below
|
1 |
superseded
|
| 10 |
82522M |
SCREW
|
3 |
discontinued
|
| 11 |
82208M |
WASHER LOCK
|
3 |
superseded
|
| 12 |
41889M |
SCREW (M3 x 5) [M-011026/ML-309856/E-251791/EL-552791] & Up
|
2 |
discontinued
|
| 12 |
94801M |
SCREW [M-004471/ML-303551/E-250841/EL-551471] THRU [M-011025/ML-309855/E-251790/EL-552790]
|
2 |
superseded
|
| 13 |
82537M |
NUT
|
2 |
discontinued
|
| 14 |
80757M |
GASKET FUEL PUMP TO CRANKCASE
|
1 |
superseded
|
| 15 |
82428M |
BOLT
|
2 |
superseded
|
| 16 |
82199M |
WASHER LOCK
|
2 |
superseded
|
| 2 |
80606M |
DIAPHRAGM
|
1 |
|
| 3 |
80611M |
PLATE SPRING GUIDE
|
1 |
discontinued
|
| 4 |
80610M |
SPRING
|
1 |
discontinued
|
| 5 |
80613M |
GASKET BODY TO BASE
|
1 |
superseded
|
| 6 |
41888M |
CHECK VALVE [M-011026/ML-309856/E-251791/EL-552791] & Up
|
2 |
|
| 6 |
94800M |
CHECK VALVE [M-004471/ML-303551/E-250841/EL-551471] THRU [M-011025/ML-309855/E-251790/EL-552790]
|
2 |
superseded
|
| 6 |
84650M |
CHECK VALVE [M-004470/ML-303550/E-250840/EL-551470] & Below
|
1 |
discontinued
|
| 7 |
43095M |
GASKET BODY TO COVER [M-019911/ML-315401/E-252996/EL-554736] & Up
|
1 |
discontinued
|
| 7 |
80614M |
GASKET BODY TO COVER [M-019910/ML-315400/E-252995/EL-554735] & Below
|
1 |
superseded
|
| 8 |
84141M |
DIAPHRAGM
|
1 |
|
| 9 |
43096M |
COVER [M-019911/ML-315401/E-252996/EL-554736] & Up
|
1 |
superseded
|
| 9 |
80607M |
COVER [M-019910/ML-315400/E-252995/EL-554735] & Below
|
1 |
discontinued
|