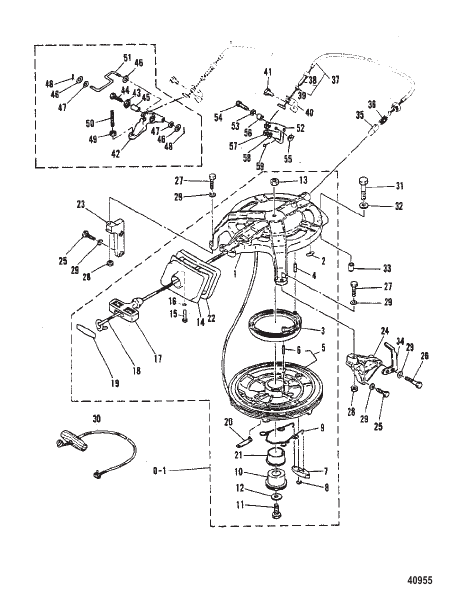
| # | Part Number | Description | Qty | Status |
| 0-1 |
92597M |
STARTER MOTOR ASSEMBLY
|
1 |
discontinued
|
| 1 |
7102M |
HOUSING STARTER
|
1 |
superseded
|
| 10 |
83590M |
SHAFT SHEAVE
|
1 |
discontinued
|
| 11 |
84342M |
BOLT
|
1 |
discontinued
|
| 12 |
81801M |
WASHER
|
1 |
discontinued
|
| 13 |
82382M |
NUT
|
1 |
discontinued
|
| 14 |
80600M |
GUIDE STARTER ROPE
|
1 |
discontinued
|
| 15 |
84247M |
BOLT
|
2 |
superseded
|
| 16 |
82199M |
WASHER LOCK
|
2 |
superseded
|
| 17 |
80063M |
HANDLE STARTER
|
1 |
superseded
|
| 18 |
79629A1 |
ROPE Starter
|
1 |
superseded
|
| 19 |
41882M |
COVER [M-009376/ML-308481/E-251701/EL-552631] & Up
|
1 |
discontinued
|
| 19 |
84892M |
COVER [M-009375/ML-308480/E-251700/EL-552630] & Below
|
1 |
superseded
|
| 2 |
83585M |
PLUG STARTER HOUSING
|
6 |
discontinued
|
| 20 |
84893M |
CLIP
|
1 |
discontinued
|
| 21 |
83589M |
BUSHING
|
1 |
discontinued
|
| 22 |
93107M |
SEAL
|
1 |
discontinued
|
| 23 |
84465M |
BRACKET STARTER HSG (STARBOARD)
|
1 |
discontinued
|
| 24 |
84466M |
BRACKET STARTER HSG (PORT MANUAL)
|
1 |
discontinued
|
| 25 |
82405M |
BOLT
|
4 |
discontinued
|
| 26 |
82428M |
BOLT
|
1 |
superseded
|
| 27 |
84237M |
BOLT
|
2 |
superseded
|
| 28 |
82380M |
NUT
|
2 |
superseded
|
| 29 |
82199M |
WASHER LOCK
|
7 |
superseded
|
| 3 |
83588M |
SPRING STARTER
|
1 |
|
| 30 |
47341A1 |
ROPE AND HANDLE KIT Manual/Emergency Start
|
1 |
superseded
|
| 31 |
84236M |
BOLT [M-019911/ML-315401/E-252996/EL-554736] & Up
|
1 |
discontinued
|
| 31 |
82442M |
BOLT [M-019910/ML-315400/E-252995/EL-554735] & Below
|
1 |
discontinued
|
| 32 |
82202M |
WASHER
|
1 |
superseded
|
| 33 |
82162M |
PIN DOWEL
|
1 |
superseded
|
| 34 |
96341M |
PLATE TIMING [M-006086/ML-305361/E-251106/EL-552121] & Up
|
1 |
discontinued
|
| 35 |
81106M |
PLUNGER STARTER LOCKOUT
|
1 |
discontinued
|
| 36 |
82079M |
SPRING STARTER LOCKOUT
|
1 |
discontinued
|
| 37 |
81108M |
CABLE STARTER LOCKOUT
|
1 |
discontinued
|
| 38 |
81746M |
BOLT
|
1 |
discontinued
|
| 39 |
82380M |
NUT
|
2 |
superseded
|
| 4 |
82157M |
PIN
|
1 |
discontinued
|
| 40 |
81109M |
BRACKET STARTER LOCKOUT (MANUAL)
|
1 |
discontinued
|
| 41 |
84315M |
BOLT
|
1 |
superseded
|
| 42 |
91648M |
ARM STARTER LOCKOUT [M-019910/ML-315400/E-252995/EL-554735] & Below
|
1 |
discontinued
|
| 43 |
81969M |
WASHER [M-019910/ML-315400/E-252995/EL-554735] & Below
|
1 |
discontinued
|
| 44 |
83539M |
BOLT (M6 x 20) [M-019910/ML-315400/E-252995/EL-554735] & Below
|
1 |
superseded
|
| 45 |
83310M |
COLLAR [M-019910/ML-315400/E-252995/EL-554735] & Below
|
1 |
discontinued
|
| 46 |
82196M |
WASHER [M-019910/ML-315400/E-252995/EL-554735] & Below
|
3 |
superseded
|
| 47 |
81865M |
WASHER WAVE [M-019910/ML-315400/E-252995/EL-554735] & Below
|
2 |
discontinued
|
| 48 |
82125M |
COTTER PIN [M-019910/ML-315400/E-252995/EL-554735] & Below
|
1 |
discontinued
|
| 49 |
82378M |
NUT [M-019910/ML-315400/E-252995/EL-554735] & Below
|
2 |
superseded
|
| 5 |
83587M |
SHEAVE Starter
|
1 |
discontinued
|
| 50 |
41883M |
STUD [M-009376/ML-308481/E-251701/EL-552631] THRU [M-019910/ML-315400/E-252995/EL-554735]
|
1 |
discontinued
|
| 50 |
91649M |
STUD [M-009375/ML-308480/E-251700/EL-552630] & Below
|
1 |
discontinued
|
| 51 |
91650M |
LINK [M-019910/ML-315400/E-252995/EL-554735] & Below
|
1 |
discontinued
|
| 52 |
81107M |
LINK STARTER STOP [M-019911/ML-315401/E-252996/EL-554736] & Up
|
1 |
discontinued
|
| 53 |
81867M |
WASHER WAVE [M-019911/ML-315401/E-252996/EL-554736] & Up
|
1 |
discontinued
|
| 54 |
83539M |
BOLT (M6 x 20) [M-019911/ML-315401/E-252996/EL-554736] & Up
|
1 |
superseded
|
| 55 |
82199M |
WASHER [M-019911/ML-315401/E-252996/EL-554736] & Up
|
1 |
superseded
|
| 56 |
82929M |
COLLAR [M-019911/ML-315401/E-252996/EL-554736] & Up
|
1 |
discontinued
|
| 57 |
82196M |
WASHER [M-019911/ML-315401/E-252996/EL-554736] & Up
|
1 |
superseded
|
| 58 |
81866M |
WASHER [M-019911/ML-315401/E-252996/EL-554736] & Up
|
1 |
discontinued
|
| 59 |
82125M |
COTTER PIN [M-019911/ML-315401/E-252996/EL-554736] & Up
|
1 |
discontinued
|
| 6 |
82157M |
PIN ROLL
|
1 |
discontinued
|
| 7 |
84894M |
PAWL STARTER
|
1 |
|
| 8 |
84895M |
RING Snap
|
1 |
discontinued
|
| 9 |
83591M |
SPRING PAWL
|
1 |
discontinued
|